新聞中心
聯系我們
- 聯系地址:廣東省廣州市天河區科新路優可商務中心B棟
- 服務熱線:020-85279740
- 聯系電話:020-85279740(8線) 020-37889427
- 傳真電話:020-85279740

談談程控交換機的呼叫接續處理過程
發表時間:2021年06月08日瀏覽量:
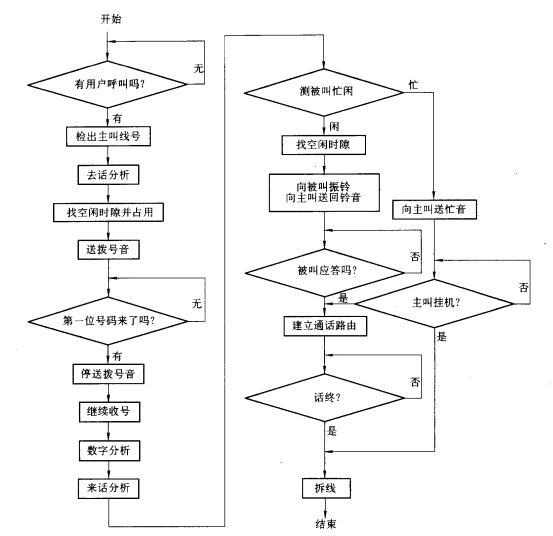
程控交換機的基本功能與人工交換臺是一樣的,只是在處理呼叫的過程由程序控制整個接續的過程。下面主要說明呼叫接續處理過程,如圖1所示:
1、主叫摘機到交換機送撥號音
交換機按一定的周期執行用戶線掃描程序,對用戶電路掃描點進行掃描,檢測出摘機呼出的用戶,并確定呼出用戶的設備號。
從外存儲器調入該用戶的用戶數據(其中包括該用戶的電話號碼,用戶類別及服務類別等內容),然后執行去話分析程序,如果分析結果確定是電話呼叫,則尋找一個空閑路由(在時分機 中是空閑時隙,在空分機中是繩路),把該用戶連接到撥號音產生設備上,使用戶聽到撥號音。
2、收號和數字分析
程控交換機中的脈沖號碼是由用戶電路接收的,掃描檢出并識別后收入相應存儲器,在收到第一位號的第一個脈沖后,停發撥號音。雙頻號碼一般是由雙頻處理電路板接收識別的。
交換機在收到一定倍數的號碼以后就可以進行數字分析,并確定本次呼叫是呼叫本局還是呼叫他局。來話分析至向被叫振鈴若數字分析的結果是呼叫本局,則在收號完畢和數字分析結束以后,根據被叫號碼,從存儲器找到被叫用戶的數據(包括被叫用戶的設備,用戶類別等內容),而后根據用戶數據執行來話分析程序進行來話分析,并測被叫用戶忙閑。
如被叫用戶空閑,剛找一個從鈴流設備到被叫用戶的空閑路由,以給被叫用戶送鈴流(如數字交換機中該路由只送鈴流控制信號,鈴流信號則由鈴流電源一直加在用戶電路上),并且還應該選擇一個能連通主被叫用戶的空閑路由。
然后執行向被叫用戶振鈴,振鈴確認后向主叫用戶送回鈴音。在數字程控交換機中向用戶振鈴是由用戶電路完成的。
4、被叫應答雙方通話
被叫摘機應答由掃描檢出,由預先已選好的空閑路由建立主叫兩用戶的通話電路,停送鈴流和回鈴音信號。通話電源一般經由各自的用戶電路提供。
5、話終掛機、復原
雙方通話時,一般由其用戶電路監視是滯話終掛。

(圖1)